Gardeco Cono, large conical shaped steel chimenea,with copper coloured mouth rim
Gardeco Cono, large conical shaped steel chimenea,with copper coloured mouth rim
- Official Authorised Retailer
- Free Shipping
- Questions? Call us 020-8050-9104
Couldn't load pickup availability




Description
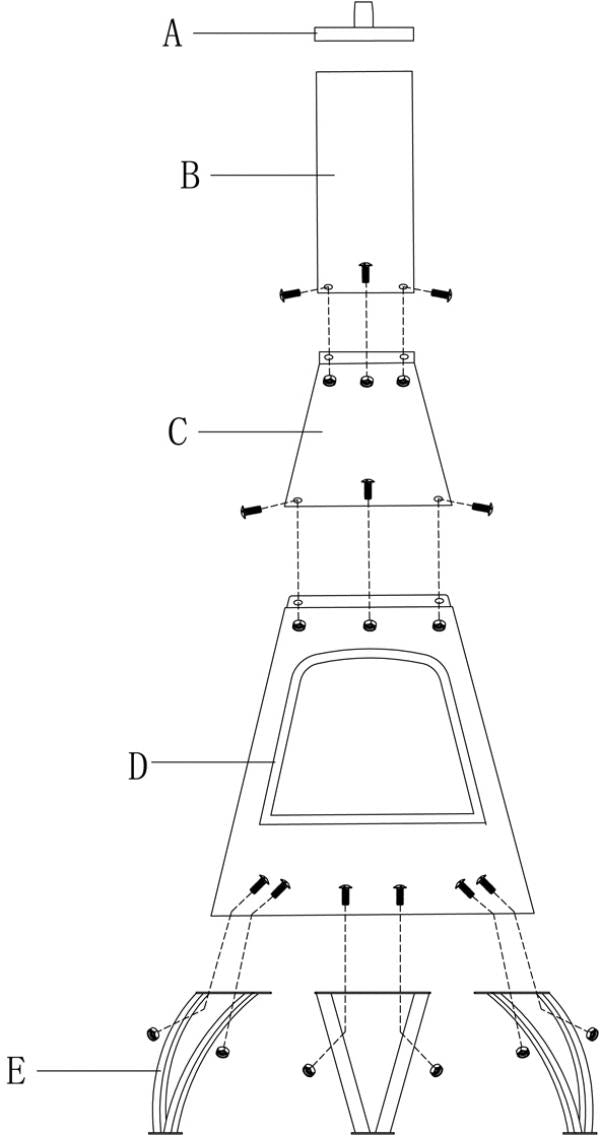
Cono is a modern contemporary steel chimenea. Large mouth so adding logs is easy and offering a huge view of the fire. Ideal for any patio.
About
Metal chimeneas will rust. How much they rust is dependent on whether they are left outside in all weathers, how much they are used, how they are looked after. All can be re-painted. Rust does not affect use.
Metal chimeneas surfaces can become very hot in use and will burn the skin if touched. Burning temperatures inside steel and cast iron chimeneas are even higher than inside traditional cast iron chimeneas. We recommend the use of a chimenea guard when small children are present.
Technical Specifications
Height |
125cm |
Width |
44cm |
Depth |
44cm |
Fuel |
Wood, twigs, charcoal |
Delivery
Delivery is free of charge for orders over £200 to the U.K. Please note that there may be extra shipping charges for orders to remote areas of the U.K. including, but not limited to: The Scottish Highlands, The Isle of Man, The Isle of Wight, The Orkney Islands, The Isles of Scilly, Jersey and Guernsey. Delivery charges for orders under £200 will be calculated at checkout. Please get in touch if you live in any of the above-mentioned areas or if you are unsure if your order will incur extra delivery charges based on your location.
Lead time: 1-5 days
Delivery time: 2-7 days
All deliveries are made kerbside and your order will be safely delivered to your address. However, we are generally unable to assist in bringing your order indoors. It is therefore recommended to have somebody with you when you receive the order to make moving the box/boxes easier for you.
For more information about our shipping policies please see our shipping policy page or contact us if you have any specific queries.
Warranty
Please contact us for information about this products warranty.